DB9 05 12 Catalogue
- 00-00 - Complete Vehicle System ▶
-
01-00 - Body
▶
- Actuation Sensors
- Anti-Can Sound Pads
- Auxiliary Interior Trim
- Body Closures ▶
- Body Components, Coupe
- Body Components, Volante
- Body Dash and Cowl, Coupe
- Body Dash and Cowl, Volante
- Body Insulation, Coupe
- Body Rear End Composite, Coupe
- Body Rear End Composite, Volante
- Body Rear End Trim
- Body Rear End, Coupe
- Body Rear End, Volante
- Body Side Quarter Trim, Coupe
- Body Side Quarter Trim, Volante
-
Body Structure
▶
- Body Components, Coupe
- Body Components, Volante
- Body Dash and Cowl, Coupe
- Body Dash and Cowl, Volante
- Body Rear End Composite, Coupe
- Body Rear End Composite, Volante
- Body Rear End, Coupe
- Body Rear End, Volante
- Body, Coupe
- Body, Volante
- Bodyshop Consumables
- EV Structure, Coupe
- EV Structure, Volante
- Panel Body Side, Coupe
- Panel Body Side, Volante
- Rear Underbody Shields
- Rear Wheel Arches
- Roof, Coupe
- Underbody
- Underbody Rear, Coupe
- Underbody Rear, Volante
- Windscreen, Outer, Volante
- Body, Coupe
- Body, Volante
- Bodyshop Consumables
- Bodyside & Quarter Trim , Coupe
- Bodyside & Quarter Trim , Volante
- Bonnet and Mounting
- Bumpers and Number Plates ▶
- CCB to BIW Brackets
- Centre Console, Manual
- Centre Console, Manual, 08MY
- Child Restraints
- Console Switches
-
Console and Switches
▶
- CCB to BIW Brackets
- Centre Console, Manual
- Centre Console, Manual, 08MY
- Console Switches
- Front Console, Auto, 09MY
- Front Console, Manual, 09MY
- Glove Box Switch
- IP Cross Beam
- IP Substructure
- Instrument Panel Centre Stack
- Instrument Panel, Leather
- Instrument Panel, Leather, B&O
- Rear Console, Coupe
- Rear Console, Volante
- Cowl Side Trim, Lower
- Divider, Front Grille
- Door Glass
- Door Hinges
- Door Trim
- Door Window Regulators
- Dynamic Weatherstrips, Coupe
- Dynamic Weatherstrips, Volante
- EV Structure, Coupe
- EV Structure, Volante
- Exterior Rear View Mirrors
- Exterior Rear View Mirrors 09MY
- Exterior Trim ▶
- Floor Sound Insulation
- Floor Trim
- Floor Trim, Volante
- Front Bumper
- Front Bumper Armature
- Front Bumper Isolator
- Front Console, Auto, 09MY
- Front Console, Manual, 09MY
- Front Door Latch
- Front End Trim
- Front Seat Adjustment
- Front Seat Belts
- Front Seat from (V) A09110
- Front Seat to (V) A09109
- Front Side Doors
- Front Structure ▶
- Front Undershield, Coupe
- Front Undershield, Volante
- Front Wheel Arches
- Front Wing Assembly
- Fuel Filler Mechanism, Coupe
- Fuel Filler Mechanism, Volante
- Fuel Filler Release Switch
- Glove Box Switch
- Grille Opening Panel
- Handle Assembly
- Header Trim, Coupe
- Header Trim, Volante
- Headlamp Wash
- Headliner Assy
- Hood Latch System
- IP Cross Beam
- IP Substructure
- Instrument Panel Centre Stack
- Instrument Panel, Leather
- Instrument Panel, Leather, B&O
- Insulation ▶
- Interior Mirror, Chromatic, GDO
- Interior Mirror, Coupe
- Interior Mirror, Volante
-
Interior Trim
▶
- Auxiliary Interior Trim
- Body Side Quarter Trim, Coupe
- Body Side Quarter Trim, Volante
- Cowl Side Trim, Lower
- Door Trim
- Floor Trim
- Floor Trim, Volante
- Header Trim, Coupe
- Header Trim, Volante
- Headliner Assy
- Package Tray Assembly
- Pillar Trim , Upper, Volante
- Pillar Trim, Upper, Coupe
- Rear End Trim, Coupe
- Rear End Trim, Volante
- Roof Opening Trim
- Sunvisor
- Keyless Entry Remote
- License Plate Brackets
- License Plate Brackets, NAS
- Lock Set and Keys
- Mirrors ▶
- Package Tray Assembly
- Panel Body Side, Coupe
- Panel Body Side, Volante
- Passenger Airbag
- Pillar Trim , Upper, Volante
- Pillar Trim, Upper, Coupe
- Plenum Cover
- ROPS Installation, Volante
- Radiator Grille
- Radiator Grille, 09MY
- Rear Bumper
- Rear Bumper Armature
- Rear Console, Coupe
- Rear Console, Volante
- Rear End Trim, Coupe
- Rear End Trim, Volante
- Rear Quarter Glass, Coupe
- Rear Quarter Glass, Volante
- Rear Quarter Regulators, Volante
- Rear Seat Belts, Coupe
- Rear Seat Belts, Volante
- Rear Seat, Coupe
- Rear Seat, Volante
- Rear Underbody Shields
- Rear Wheel Arches
- Rear Windscreen
- Reduced Guard Switch
- Roof Opening Panel
- Roof Opening Trim
- Roof Trim , Volante
- Roof, Coupe
- Seatbelts, Airbags & Roll Over Protection System ▶
- Seats ▶
- Security Locks and Handles ▶
- Side Airbag
- Soft Sealing, Coupe
- Soft Sealing, Volante
- Sound Insulation, Engine Comp
- Start/Stop Module
- Stonechip Guard
- Sunvisor
- Tonneau Latching System
- Top Seal Moulding
- Transmittter, RKE
- Trunk Latch System
- Trunk Lid Trim, Coupe
- Trunk Lid Trim, Volante
- Trunk Lid, Coupe
- Trunk Lid, Volante
- Underbody
- Underbody Rear, Coupe
- Underbody Rear, Volante
- Volante Roof ▶
- Volante Roof Assembly
- Volante Roof Assembly, 9.5MY on
- Washer Bottle
- Watershields
- Weatherstrip Seals ▶
- Window/Mirror Lock Controller
- Windows ▶
- Windscreen Wash
- Windscreen, Heated
- Windscreen, Non Heated
- Windscreen, Outer, Volante
- Wiper Blade Assembly
- Wiper Blade Assembly, 12MY
- Wiper Linkage Assembly
- Wipers & Washers ▶
- 02-00 - Frame & Mounting ▶
-
03-00 - Engine System
▶
- Accelerator Control
- Accessory Drive
- Air Charging
- Barometric Sensor
- Clutch Pedal Switch
- Coolant Hoses & Reservoir
- Electronic Engine Control
- Emission Control
- Engine Cooling
- Engine Cooling (Line Fit)
- Engine Lubrication
- Engine Sealing
- Engine Structure
- Evaporative Emissions
- Exhaust Manifolds
- Fuel Charging & Control
- Ignition
- Power Conversion
- Starter Motor
- Valve Train
-
04-00 - Suspension System
▶
- Active Damping Module
- Front Spring & Damper, 09MY on
- Front Spring & Damper, to 09MY
- Front Stabiliser Bar, Coupe
- Front Stabiliser Bar, Volante
- Front Suspension Assembly
- Rear Spring & Damper, 09MY on
- Rear Spring & Damper, to 09MY
- Rear Stabiliser Bar
- Rear Suspension Assembly
- Shock Absorber Damping Controls
- Sports Pack Kit, 2007
- Wheels & Tyres
- 05-00 - Driveline System ▶
- 06-00 - Brake System ▶
- 07-00 - Transmission System ▶
- 08-00 - Clutch System ▶
- 09-00 - Exhaust System ▶
- 10-00 - Fuel System ▶
- 11-00 - Steering System ▶
- 12-00 - Climate Control ▶
- 13-00 - Information Gauge Warning ▶
- 14-00 - Electrical Power Supply System ▶
-
15-00 - In-Vehicle Entertainment
▶
- Amplifiers, Coupe
- Amplifiers, Volante
- Centre Stack
- Centre Stack, 09MY
- Electronic Antenna
- Electronic Antenna, 08MY
- Electronic Antenna, 09MY
- Electronic Antenna, Windscreen
- MP3 Media
- Media Player
- Premium Amplifiers, Coupe
- Premium Amplifiers, Volante
- Speaker, Base, Coupe
- Speaker, Base, Volante
- Speaker, Premium, Coupe
- Speaker, Premium, Volante
- Speakers, 07MY, Coupe
- Speakers, 07MY, Volante
- 16-00 - Vacuum Distribution ▶
- 17-00 - Lighting System ▶
- 18-00 - Electrical Distribution ▶
-
19-00 - Electronic Features
▶
- Anti-theft Sensors & Switches
- Bluetooth Subsystem
- Cellular Phone Subsystem
- GPS Antenna, Coupe
- GPS Antenna, Volante
- GPS Tuner, to 09MY
- Multi-Function Control
- RKE
- Sat Nav Display, 12MY on
- Sat Nav Display, to 12MY
- Sat Nav, 09MY to 12MY
- Sat Nav, 12MY on
- Sat Nav, Coupe, to 09MY
- Sat Nav, Volante, to 09MY
- Security Sounder
- Tracker
- Tyre Pressure Module
- Tyre Pressure Module, 11MY
- Voice Control Subsystem
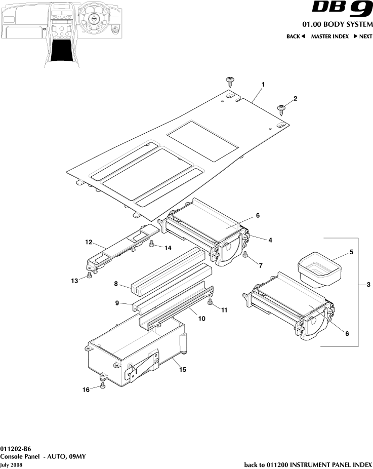
Front Console, Auto, 09MY Parts
Screw M4x6 Pan Collar Hd 6 Lobe
New / New
Diagram No:
7
Available to order (2-3 days delay)
SCREW, M4x8, PAN CLR 6 LOBE T/H PLAS
New / New
Diagram No:
14
Available to order (2-3 days delay)
Door, utility tray
New / New
Diagram No:
6
Available to order (2-3 days delay)
Panel, centre console, AUTO
New / New
Diagram No:
1
Available to order (2-3 days delay)
Door, utility tray (Light Satin Chrome)
New / New
Diagram No:
-
Available to order (2-3 days delay)
Panel, console, low, bluetooth, AUTO (Platinum)
New / New
Diagram No:
-
Available to order (2-3 days delay)
Panel, console, high, AUTO (Platinum)
New / New
Diagram No:
-
Available to order (2-3 days delay)
Panel, console, mid, AUTO (Anthracite)
New / New
Diagram No:
-
Available to order (2-3 days delay)
Panel, console, high, bluetooth, AUTO (Platinum)
New / New
Diagram No:
-
Available to order (2-3 days delay)
Panel, console, mid, bluetooth, AUTO (Anthracite)
New / New
Diagram No:
-
Available to order (2-3 days delay)
Panel, console, high, AUTO (Anthracite)
New / New
Diagram No:
-
Available to order (2-3 days delay)
Panel, console, mid, AUTO (Platinum)
New / New
Diagram No:
-
Available to order (2-3 days delay)
Panel, console, low, AUTO (Anthracite)
New / New
Diagram No:
-
Available to order (2-3 days delay)
Door, utility tray (Anthracite)
New / New
Available to order (2-3 days delay)
Used / Undamaged
Diagram No:
-
In stock
Receptical (Ashtray)
New / New
Diagram No:
5
Available to order (2-3 days delay)
Panel, console, high, bluetooth, AUTO (Anthracite)
New / New
Available to order (2-3 days delay)
Used / Undamaged
Diagram No:
-
In stock
Panel, console, low, AUTO (Platinum)
New / New
Diagram No:
-
Available to order (2-3 days delay)
Panel, console, mid, bluetooth, AUTO (Platinum)
New / New
Available to order (2-3 days delay)
Used / Undamaged
Diagram No:
-
In stock
Panel, console, low, bluetooth, AUTO (Anthracite)
New / New
Diagram No:
-
Available to order (2-3 days delay)
Door, utility tray (Graphite)
New / New
Diagram No:
-
Available to order (2-3 days delay)
Container Assembly, Console
New / New
Diagram No:
-
Available to order (2-3 days delay)
Coin Holder Assembly
New / New
Diagram No:
-
Available to order (2-3 days delay)
Foam, coin holder
New / New
Diagram No:
9
Available to order (2-3 days delay)
Utiliy tray assy (Anthracite)
New / New
Diagram No:
-
Available to order (2-3 days delay)
Ashtray Assembly
New / New
Diagram No:
-
Available to order (2-3 days delay)
Utility tray assy, (Iridium Silver)
New / New
Diagram No:
4
Available to order (2-3 days delay)
Ashtray Assembly
New / New
Diagram No:
-
Available to order (2-3 days delay)
Ashtray Assembly
New / New
Diagram No:
-
Available to order (2-3 days delay)
Ashtray assy, AUTO (Iridium Silver)
New / New
Diagram No:
3
Available to order (2-3 days delay)
Utiliy tray assy (Graphite)
New / New
Diagram No:
-
Available to order (2-3 days delay)
Utility tray assy, (Platinum)
New / New
Diagram No:
-
Available to order (2-3 days delay)
Cover, coin holder
New / New
Diagram No:
8
Available to order (2-3 days delay)
Panel, console, high, bluetooth, AUTO (Anthracite)
New / New
Diagram No:
-
Available to order (2-3 days delay)
Bracket, coin holder
New / New
Diagram No:
10
Available to order (2-3 days delay)
Panel, console, high, bluetooth, AUTO (Platinum)
New / New
Diagram No:
-
Available to order (2-3 days delay)
Panel, console, high, AUTO (Anthracite)
New / New
Diagram No:
-
Available to order (2-3 days delay)
Panel, console, high, AUTO (Platinum)
New / New
Diagram No:
-
Available to order (2-3 days delay)
Door, utility tray (Platinum)
New / New
Diagram No:
-
Available to order (2-3 days delay)
Container assy
New / New
Diagram No:
15
Available to order (2-3 days delay)
Bracket, Switch, Centre Console Panel
New / New
Diagram No:
12
Available to order (2-3 days delay)